
电动手术台摆动量测试工装
产品型号
更新时间
2025-08-19厂商性质
浏览次数
1342产品中心
PRODUCT CATEGORY相关产品
RELATED PRODUCTS详细介绍
一、功能概述:
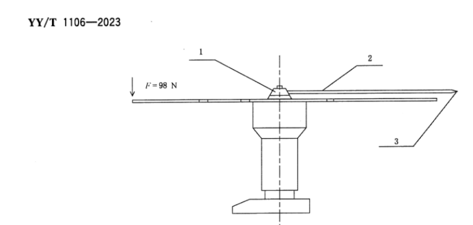
电动手术台摆动量测试工装符合YYT1106-2008标准,用于测量电动手术台的横向、纵向和水平侧向的摆动量。
二、技术参数:
1、摆动量要求:
a)纵向摆动量应不大于15mm;
b)横向摆动量应不大于10 mm;
c)水平侧向摆动量应不大于18 mm;
2、用于测量电动手术台的横向、纵向和水平侧向的摆动量,满足图5、图6、图7、图8要求;
3、试验力值:98N;
4、施力方式:通过悬挂砝码方式;
5、摆杆长度:500 mm,1000 mm;
6、标尺位置高度可调节,支架落地配脚轮可移动配合调节;
7、标尺精度:1 mm。
电动手术台在20士5条件下,按a)~c)进行试验,其结果应符合4.4的规定。
a)如图2所示,将台面升至最高位置,并保持水平,测量台面臀板位置初始高度;在台面臀板上对
准立柱中心部位,加100kg静载荷,液压系统经5h(气压系统经1h)后,在相同位置再次测量
臀板的高度,其与初始高度的差值即为负载后下降距离。
b)如图3所示,将台面降至最低,并保持水平,测量腿板或臀板(无腿板配置)位置初始高度;在离
腿板或臀板(无腿板配置)末端100mm中间处加25kg静载荷,液压系统经5h(气压系统经
1h)后,在相同位置再次测量腿板或臀板(无腿板配置)高度,其与初始高度的差值即为负载后
下降距离。
c)如图4 所示,将台面降至最低位,背板上折与臀板间夹角呈125°,测量背板顶部位置初始高度;
在背板顶部中间加50kg静载荷,液压系统经5h(气压系统经1h)后,在相同位置再次测量背
板顶部高度,其与初始高度的差值即为负载后下降距离。
产品咨询
